收藏榴莲视频成人污|在线留言|网站地图

榴莲视频成人污磁选机欢迎您-榴莲视频黄色网站|湿式磁选机|永磁筒式磁选机!

榴莲视频成人污磁电
磁选机和除铁器行业企业

榴莲视频成人污咨询热线:13869611251

榴莲视频成人污除铁器,世界先进技术
当前位置:主页 > 常见问题 > >CTB半逆流湿式磁选机的工作原理,图示原理详情

CTB半逆流湿式磁选机的工作原理,图示原理详情

文章出处:榴莲视频成人污除铁器人气:发表时间:2017-03-02 14:25:35【
  CTB半逆流湿式磁选机的工作原理,图示原理详情,磁选机是榴莲视频成人污充分再利用粉状粒体中的除去铁粉等,磁选机广泛用于资源回收,木材业.矿业.窑业.化学.食品等其他工场,适用于粒度3mm以下的磁铁矿.磁黄铁矿.焙烧矿.钛铁矿等物料的湿式磁选,也用于煤.非金属矿.建材等物料的除铁作业,是产业界使用最广泛的.通用性高的机种之一.
  榴莲视频成人污生产的CTB永磁筒式磁选机可分为:双滚筒磁选机.榴莲去黄视频磁选机.提纯式榴莲视频黄色网站.榴莲视频黄色网站.湿式磁选机.强磁磁选机等多种不同规格的磁选机.
永磁筒式磁选机
1.CTB永磁筒式磁选机简介:

  CTB永磁筒式磁选机选筒表面磁场强度远高于普通永磁磁选机,易于操作管理及维护,在各类选矿厂现场使用时具有明显的节能省电性能.半逆流槽永磁筒式磁选机适用于矿石粒度为0.5~0mm的粗选和精选,尤其适用于粒度为0.15~0mm矿物的精选;顺流槽永磁筒式磁选机适用于矿石粒度为6~0mm的粗选和精选;逆流槽永磁筒式磁选机适用于矿石粒度为0.6~0mm的粗选和扫选,以及选煤工业重介质回收.该永磁筒式磁选机采用专业计算机软件优化设计,结构合理,安装简单,使用方便,选别效率高!

2.CTB永磁筒式磁选机的工作原理
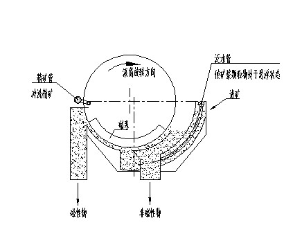
  矿浆由圆筒下部给入槽内,磁性矿粒被圆筒带到一定高度后落到精矿槽中,非磁性矿粒被运动的矿浆带着沿和圆筒转动方向相反的方向到尾矿槽中.
永磁筒式磁选机的工作原理
  该槽体特点是扫选区比逆流槽短些,脱水区比顺流槽长些.所以它兼有可以获得回收率高和精矿品位高的优点,选别指标较好.如图1所示.该种槽体磁选机在选矿厂中应用最普遍,主要用于精选作业,选别粒度尤其适用小于0.15mm的矿物.
关注CTB半逆流湿式磁选机的工作原理,图示原理详情的人还阅读了湿式磁选机磁路设计是否合理这篇文章,请继续阅读详情.
此文关键字:半逆流湿式磁选机   

同类文章排行

最新资讯文章